Fyzikálno-mechanická separácia pevných materiálov patrí medzi fyzikálno-chemické sanačné metódy ex situ. Pri tejto metóde sa kontaminovaný materiál rozdelí na dve alebo viacero frakcií použitím výlučne mechanických a fyzikálnych postupov. Separačné mechanizmy rozdelia materiál na frakciu s relatívne nízkou koncentráciou znečisťujúcich látok (zvyčajne hrubozrnnejšia frakcia) a na jemnozrnnú frakciu, v ktorej zostane koncentrované znečistenie. Tá sa potom sekundárne dočisťuje vhodnými sanačnými metódami (FRTR, 2008).
Technológiou fyzikálno-mechanickej separácie je možné ošetriť pôdy, kaly, sedimenty a iné pevné materiály znečistené:
• prchavými a poloprchavými organickými kontaminantmi vrátane pesticídov,
• pohonnými hmotami,
• potenciálne toxickými prvkami (ťažké kovy),
• rádionuklidmi.
Fyzikálno-mechanická separácia je často súčasťou iných sanačných technológií, ako sú napr. pranie pôdy, koagulácia či flokulácia. Cieľom metódy je nielen oddeliť kontaminovaný materiál od neznečisteného, ale aj znížiť množstvo znečistenej zeminy/sedimentu/kalu, prípadne iného pevného materiálu, napr. stavebných konštrukcií (Gavrilescu et al., 2009; Mulligan et al., 2001a, 2001b; Lowe et al., 2000). Frakcie je možné oddeliť niekoľkými spôsobmi:
• gravitačnou separáciou, ktorá je založená na rozdelení frakcií na základe špecifickej hmotnosti častíc,
• fyzikálnou separáciou sitovaním cez sitá s rôznou veľkosťou oka,
• magnetickou separáciou, ktorá oddelí magnetické a rádioaktívne kovy od zvyšného materiálu.
Gravitačná separácia
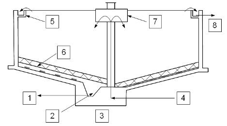
Pri gravitačnej separácii sa pevné materiály rozdelia na dve alebo viac frakcií, prípadne sa kvapalná fáza oddelí od tuhej fázy alebo dve kvapaliny sa oddelia na základe rozdielnej rýchlosti sedimentácie, ktorá závisí od hustoty, koncentrácie, veľkosti a tvaru častíc a od viskozity oddeľovanej kvapaliny. Ak je rozdiel špecifickej hmotnosti častíc väčší ako 0,4, gravitačná separácia je vhodnou metódou na ošetrenie materiálu kontaminovaného ťažkými kovmi alebo organickými znečisťujúcimi látkami (FRTR, 2008). Organické znečisťujúce látky bývajú zvyčajne naviazané na organickú hmotu zemín, ktorá má oveľa nižšiu mernú hmotnosť ako anorganická frakcia materiálu. Naopak, ťažké kovy majú niekoľkonásobne vyššiu hustotu v porovnaní so zvyškom pôdy a v kvapaline budú rýchlo sedimentovať (US EPA, 1994a, 1994b). Štandardný proces gravitačnej separácie je schematicky znázornený na obr. 4.1.35.

Obr. 4.1.32. Proces gravitačnej separácie (FRTR, 2008).
Vysvetlivky: 1 – zásobník materiálu, 2 – sedimentačná nádrž, 3 – prívod znečistenej vody, 4 – zahustený kal určený na zneškodnenie (sekundárne dočistenie), 4 – sedimentačný mechanizmus, 5 – prepad, 6 – vyčistená voda, 7 – sonda.
Fyzikálna separácia – sitovanie
Ide o veľmi jednoduchú sanačnú metódu založenú na rozdielnej veľkosti častíc. Pri nej sa jemná frakcia pôdy (pevného materiálu) kontaminovanej organickými alebo anorganickými znečisťujúcimi látkami oddelí od neznečisteného hrubozrnného materiálu použitím sít s rôznou veľkosťou oka. Pred samotným preosiatím pôdy je potrebné uvoľniť jemnú organickú a ílovú frakciu zemín od piesčitého a štrkového materiálu pomocou rôznych abrazívnych mechanizmov (FRTR, 2008).
Magnetická separácia
Technológia magnetickej separácie zahŕňa nasledujúce postupy v závislosti od intenzity použitého magnetického poľa:
• V separátoroch s nízkou intenzitou magnetického poľa sa používajú permanentné magnety. Sú určené prevažne na ošetrenie hrubozrnného materiálu s priemerom približne 75 μm a s vysokou magnetickou susceptibilitou.
• V separátoroch s vysokou intenzitou magnetického poľa sa používajú elektromagnety. Sú určené na všestrannejšie použitie, no predovšetkým v banskom priemysle.
• Mokrá magnetická separácia s vysokou intenzitou magnetického poľa (WHIMS – wet high-intensity magnetic separation) je spomedzi uvedených metód na sanáciu sedimentov najvhodnejšia. Je vysoko účinná aj pri jemnozrnnej frakcii (Ø < 5 μm).
Na sanáciu sa môže použiť aj magnetická separácia s nízkou intenzitou magnetického poľa. Táto metóda má však väčšie uplatnenie predovšetkým v banskom priemysle, kde sa používa na oddelenie železných rúd od materiálu s nízkou magnetickou susceptibilitou (US EPA, 1994a, 1994b).
Hlavné výhody metódy fyzikálno-mechanickej separácie pevných materiálov sú nasledovné:
• koncentrovanie kontaminantov do minimálneho množstva znečisteného materiálu,
• finančne a časovo nenáročná metóda,
• veľmi vhodná metóda pri vysokej koncentrácii kontaminantov v materiáli,
• zariadenie na sanáciu je ľahko transportovateľné na potrebnú lokalitu.
Nevýhody a limitácie fyzikálno-mechanickej separácie pevných materiálov je možné zhrnúť nasledovne (FRTR, 2008):
• vysoký podiel ílových minerálov a vysoká vlhkosť zvyšujú finančné náklady na separáciu, pretože je potrebné materiál vopred upraviť; odvodnenie vyžadujú predovšetkým kaly a sedimenty (Mulligan et al., 2001a, 2001b),
• na úspešnú gravitačnú separáciu je potrebný dostatočný rozdiel v špecifickej hmotnosti a veľkosti častíc a zrnitosti zemín,
• pri manipulácii s organickými materiálmi, napr. s čistiarenskými kalmi, môže vznikať nežiaduci zápach,
• pri preosievaní suchej zeminy sa vo vzduchu môže významne zvýšiť prašnosť,
• metóda nie je vhodná na ošetrenie materiálu, ktorý je rovnomerne kontaminovaný znečisťujúcimi látkami,
• metóda zvyčajne slúži len na čistenie kontaminovaného materiálu pred použitím ďalšej sanačnej metódy.
Všetky metódy fyzikálno-mechanickej separácie sú časovo nenáročné. Čas potrebný na sanáciu územia závisí od množstva kontaminovaného materiálu, od toho, či je potrebná predchádzajúca úprava materiálu (drvenie, sušenie a pod.), prípadne sekundárne dočisťovanie inou vhodnou technológiou.
Metóda bola úspešne aplikovaná na lokality patriace armáde USA (Fort Dix, NAS Miramar, Twentynine Palms), ktoré boli znečistené olovom, a koncentrácia v niektorých miestach presahovala 3 000 mg . kg–1 . Pôda po ošetrení gravitačnou separáciou vyžadovala ešte sekundárne dočistenie (Lowe et al., 2000). Sanáciu kontaminovaných pôd s koncentráciou olova až 40 000 mg . kg–1 opísali Marino et al. (2006). Laboratórne testy ukázali, že až 96 % kontaminantov sa koncentrovalo len do 20 % z pôvodného množstva znečisteného materiálu.
Metóda magnetickej separácie bola experimentálne odskúšaná na pôdach kontaminovaných rádionuklidmi cézia a stroncia s účinnosťou 60 až 98 % (Macášek et al., 2002).
© Atlas sanačných metód environmentálnych záťaží
Autori: Jana Frankovská, Jozef Kordík, Igor Slaninka, Ľubomír Jurkovič, Vladimír Greif,
Peter Šottník, Ivan Dananaj, Slavomír Mikita, Katarína Dercová a Vlasta Jánová
Štátny geologický ústav Dionýza Štúra, Bratislava 2010, 360 s,
ISBN 978-80-89343-39-3