Membránová separácia plynov je založená na selektívnej (výberovej) priepustnosti organických pár pri ich prechode membránou. Organické výpary majú oveľa vyššiu priepustnosť (10- až 100-krát) ako kyslík, dusík, vodík alebo oxid uhličitý (BREF, 2002). Prúd odpadového plynu sa stlačí a prechádza cez polopriepustnú membránu. Používajú sa neporézne polymérové membrány, pričom nastáva separácia rozpúšťaním a difúziou v membráne. V prúde znečisteného plynu sa znižuje obsah odpadových látok a vzniká prúd s vysokým obsahom škodlivín. Ten sa môže zachytávať metódami, ako sú napr. kondenzácia alebo adsorpcia, alebo sa môže odstrániť napríklad katalytickou oxidáciou. Proces je najvhodnejší pri vyššej koncentrácii pár. Aby sa získala koncentrácia dostatočne nízka na vypúšťanie do ovzdušia (BREF, 2002), väčšinou je potrebná ďalšia úprava (obr. 4.3.7).

Obr. 4.3.7. Schematický náčrt bežného membránového separačného zariadenia (BREF, 2002).
Vysvetlivky: 1 – znečistený plyn, 2 – ventil, 3 – prísun, 4 – membránový modul, 5 – membrána, zadržané látky, 6 – presiaknuté látky, 7 – chladič, 8 – kondenzát, 9 – vákuová pumpa, 10 – koncentrát, 11 – vyčistený plyn.
Membránová separácia sa používa v chemickom priemysle, petrochemickom priemysle, rafinériách a farmaceutickom priemysle na úpravu a odstraňovanie pár roztokov alebo palív (benzín), prchavých organických látok, karbóntetrachloridu a chloroformu z odpadového plynu alebo výfukového vzduchu (FRTR, 2008), ale aj na úpravy látok ako:
• olefínové monoméry z polyolefínovej živice odplyňovacích prúdov,
• vinylchlorid z výroby PVC,
• pary rozpúšťadiel a uhľovodíkov z výplní nádrží,
• uhľovodíkové východiskové produkty z vetracích prúdov a prúdov pohonných plynov v rafinériách,
• vodík odpadových plynov z rafinérií.
Medzi zložky, ktoré sa dajú oddeliť, patria alkány, olefíny, aromatické uhľovodíky, chlórované uhľovodíky, alkoholy, étery, ketóny a estery.
Pri koncentrácii prchavých organických látok vyššej ako 5 000 ppm je použitie membránovej separácie porovnateľné s použitím adsorpcie alebo kondenzácie alebo aj výhodnejšie (Baker a Jacobs, 1996).
Membránové separátory (oddeľovače) sú navrhované ako moduly, napríklad kapilárne jednotky (obr. 4.3.8). Membránová jednotka je zložená zo špirálovito zvinutých modulov z tenkých blanových membrán oddelených plastovým tkanivom. Membrána a tkanivo sú navinuté špirálovito okolo centrálnej zbernej rúrky (FRTR, 2007).

Obr. 4.3.8. Membránová kapilárna jednotka (BREF, 2002).
Vysvetlivky: 1 – znečistený plyn, 2 – membránový modul, 3 – krycie potrubie, 4 – koncentrát, 5 – vyčistený plyn.
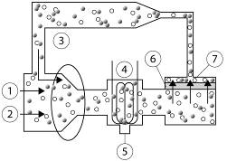
Proces membránovej separácie je zobrazený na obr. 4.3.9. Systém pozostáva z membránových jednotiek, kompresora, zachytávacej jednotky (napr. kondenzátor alebo adsorbér), ventilov alebo kanálov, prípadne aj z ďalšieho stupňa úpravy. Pracuje prostredníctvom tlakového spádu. Vytvorenie potrebného rozdielu tlaku medzi prítokovou a priesakovou stranou membrány (0,1 – 1 MPa) sa dosahuje buď zvýšeným tlakom na strane prítoku, alebo podtlakom (0,2 kPa) na strane presakovania, alebo použitím oboch metód súčasne. V tomto systéme sa prúd znečisteného vzduchu stlačí a prechádza do kondenzátora, kde sa získava kvapalný koncentrát. Prúd presakujúci z kondenzátora s obsahom prchavých organických látok približne 5 000 ppm pokračuje do membránového modulu. V membránovom module sa prúd ďalej koncentruje na 3 % prchavých organických látok. Koncentrovaný prúd sa vracia späť do kompresora na ďalšiu úpravu v kondenzátore (BREF, 2002).

Obr. 4.3.9. Príklad membránovej separácie (FRTR, 2008).
Vysvetlivky: 1 – prchavé organické látky, 2 – výpary, 3 – kompresia, 4 – kondenzátor (chladí prchavé organické látky a premieňa paru na kvapalinu, ktorá sa odstráni), 5 – kvapalné prchavé organické látky (odstránené kondenzátorom), 6 – membrána zvinutá do špirály (tiež odstraňuje prchavé organické látky), 7 – prchavé organické látky.
Príklad procesu membránovej separácie s úpravou separovaných škodlivých pár je na obr. 4.3.10. Zobrazený druhý stupeň procesu upravuje emisie tak, aby vyhovovali príslušným emisným požiadavkám.

Vysvetlivky: A – 1. stupeň/membránová jednotka: 1 – vstup pár, 2 – prívod vody, 3 – kompresor V1, 4 – odlučovač, 5 – membrána, 6 – presakovanie, 7 – vákuová pumpa, 8 – odtok vody, 9 – recyklácia, 10 – koncentrát. B – 2. stupeň/jednotka tlakovej adsorpcie: 11 – obchvat, 12 – ventil.
Medzi výhody patrí možnosť opätovného využitia surovín a jednoduchosť samotného procesu. Vďaka modulárnemu systému je zabudovanie zariadení na membránovú separáciu jednoduché. Vyžaduje si len zdroj energie, chladiacu vodu a spojovacie potrubia (Baker a Jacobs, 1996).
Nevýhodou je, že membránová separácia sa nemôže použiť samostatne, ale je potrebné dodatočné spracovanie alebo úprava separovaných škodlivín. Funkciu membrány môže zhoršiť jej pokrytie olejom, vodou alebo prítomnosťou CO2 v odpadovom plyne. Počas nárastu koncentrácie pár vnútri membránovej jednotky sa hladina koncentrácie škodlivín môže zvýšiť na hodnotu vyššiu ako hladina výbuchu a tým vytvoriť výbušnú (horľavú) zmes. Preto je potrebné dbať na bezpečnosť a prijať opatrenia na zabránenie vzniku takýchto situácií alebo na zabezpečenie ich zvládnutia. Použitie membránovej separácie je obmedzené na prúdenie odpadového plynu od 2 100 do 300 m3 . h–1 s veľmi nízkym obsahom prachu. Prach môže spôsobiť poškodenie membrány, preto treba vopred zabezpečiť veľmi nízku koncentráciu prachu. Pri použití tejto metódy vznikajú problémy pri zmenách koncentrácie prchavých organických látok, ako aj problémy so znečisťujúcimi látkami v zemine. Metóda sa odporúča používať pri koncentrácii prchavých organických látok do 90 %. Membrány sú citlivé na vlhkosť (BREF, 2002) a teplotu (FRTR, 2002).
Touto technológiou je možné odstrániť od 90 do 99 % uhľovodíkov (BREF, 2002) a viac ako 99 % prchavých organických látok z kontaminovaného vzduchu (Baker a Jacobs, 1996). Membránová separácia odstráni 95 % prchavých organických látok a zvyšných 5 % je možné odstrániť adsorpciou (FRTR, 2002). Pokles tlaku je 0,1 – 1 kPa.
Efektivita systému membránovej separácie sa stanovuje monitorovaním koncentrácie prchavých organických látok pred prechodom membránovým systémom a po ňom. Prchavé organické látky sa môžu merať ako totálny uhlík použitím plameňového ionizačného detektora. Výkon sa zvýši kontrolou prchavých organických látok na oboch stranách membrány. Z bezpečnostných dôvodov sa musí pozorne sledovať pomer prchavých organických látok a kyslíka (BREF, 2002).
Prchavé organické látky z procesu membránovej separácie sa obyčajne znovu využijú a pri danom procese nevzniká žiadny odpad. Pri dodatočnom stupni úpravy však môže v závislosti od použitej metódy odpad vznikať. Zvyškové emisie môžu vzniknúť z chladiacej vody alebo upravovaného prúdu plynu. Tieto prúdy plynov sa vypúšťajú buď komínmi do atmosféry, alebo do dodatkového stupňa úpravy odpadových plynov, ako je adsorpcia alebo spaľovanie.
Membránová separácia sa často používa ako koncentračný stupeň na ďalšie získavanie látok z odpadových plynov alebo na úpravu plynov. Obohatenie prchavých organických látok v plynnej fáze zvyšuje rosný bod prúdu odpadového plynu, preto ľahšie nastáva dodatočná kondenzácia a tým sa šetria financie. Spaľovaním obohateného prúdu odpadového plynu sa takisto znižuje potreba dopĺňania paliva.
Parametre určujúce náklady na sanáciu sú rýchlosť toku odpadového plynu a prevádzkovo-technická životnosť membrány. Kapitálové náklady membránových systémov závisia od charakteru spracúvaného znečisteného plynu. Čas návratnosti môže byť pomerne krátky, asi 12 mesiacov (Baker a Jacobs, 1996). Výnosmi sú znovu získané prchavé organické látky.
Náklady na spracovanie emisií sa môžu pohybovať rádovo v tisíckach eur za 1 kg prchavých organických látok (FRTR, 2008). Systémové náklady sa môžu meniť v závislosti od zamýšľaného cieľa získavania prchavých organických látok, kapacity a dizajnu. Kombinácia s inými procesmi (napr. adsorpcia alebo absorpcia) v porovnaní s jednostupňovou membránovou separáciou sa môže preukázať ako výhodnejšia (BREF, 2002).
© Atlas sanačných metód environmentálnych záťaží
Autori: Jana Frankovská, Jozef Kordík, Igor Slaninka, Ľubomír Jurkovič, Vladimír Greif,
Peter Šottník, Ivan Dananaj, Slavomír Mikita, Katarína Dercová a Vlasta Jánová
Štátny geologický ústav Dionýza Štúra, Bratislava 2010, 360 s,
ISBN 978-80-89343-39-3